Tesla Roadster: il brevetto sorprende e supera le aspettative di Elon

Contenuti dell'articolo

Il futuro della Tesla Roadster continua a suscitare interesse, soprattutto dopo la recente richiesta di brevetto che potrebbe rivelare il tanto atteso “pacchetto SpaceX”. Questo sistema innovativo promette di migliorare le prestazioni del veicolo, ma ci si interroga se sarà realmente in grado di farlo “volare”, come dichiarato dal CEO Elon Musk.

storia del tesla roadster

Nel 2017, durante l’evento di presentazione del Tesla Semi, è stata svelata la nuova generazione della Roadster, sorprendentemente. L’obiettivo era quello di offrire una competizione diretta ai veicoli alimentati a benzina, con un lancio inizialmente previsto per il 2020. Otto anni dopo, il modello non è ancora apparso sulle strade.

  • Presentazione del Tesla Semi nel 2017
  • Svelamento della nuova Roadster
  • Obiettivo: competere con auto a benzina
  • Lancio originale previsto per il 2020

brevetto e pacchetto spacex

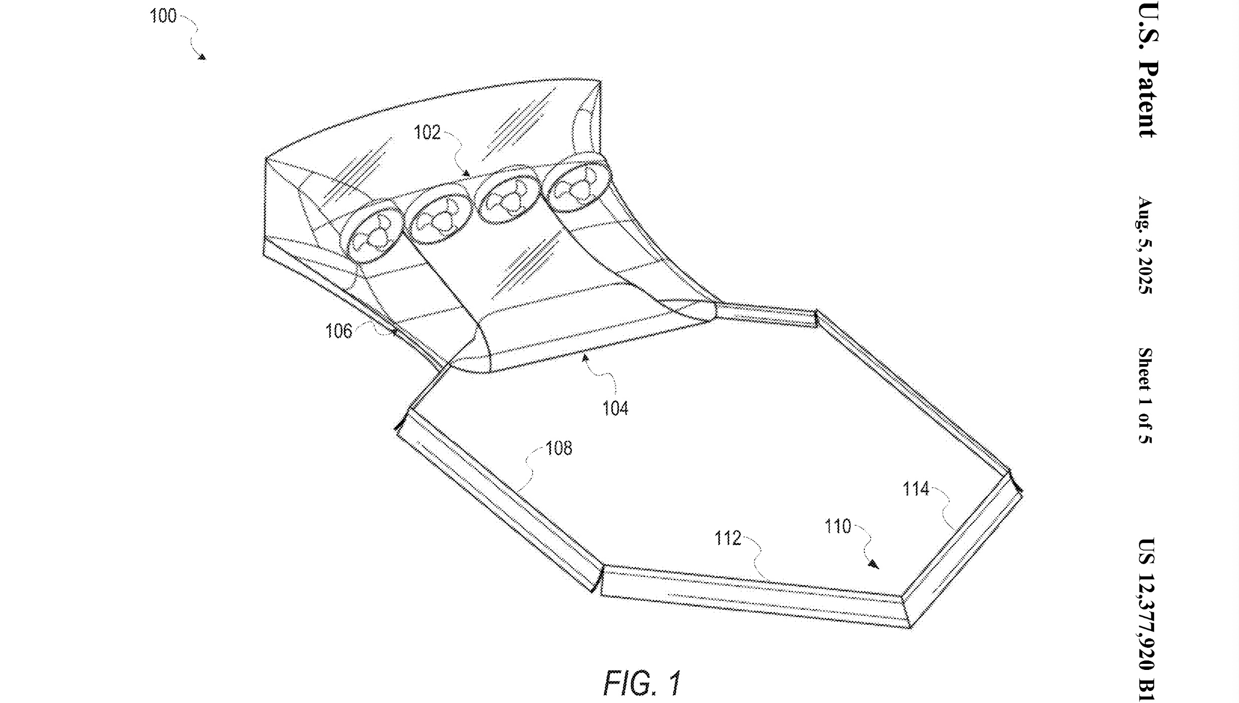
Recentemente, è emerso un brevetto che suggerisce l’integrazione di un sistema simile al “pacchetto SpaceX”, noto per l’utilizzo dei “thrusters” a gas freddo. Questo approccio mira ad aumentare le prestazioni senza limitarsi alla trazione tradizionale.

come funziona il sistema

Il pacchetto SpaceX dovrebbe essere in grado di fornire una spinta aggiuntiva in diverse direzioni. La tecnologia prevede l’uso di ventole e paratie laterali per creare un effetto di vuoto sotto il veicolo, aumentando così la stabilità e le prestazioni su vari terreni.

  • Aggiunta di spinta direzionale
  • Utilizzo di ventole e paratie laterali
  • Crea un effetto vacuum per migliorare la stabilità

confronto con altre auto elettriche

Negli ultimi anni sono emerse numerose auto elettriche ad alte prestazioni che hanno già superato le aspettative iniziali della Roadster. Modelli come Rimac Nevera R e Lotus Evija X hanno dimostrato capacità straordinarie sul mercato.

  • Rimac Nevera R: 2078 CV e velocità massima superiore a quella della Bugatti Chiron Super Sport.
  • Lotus Evija X: record sul Nurburgring tra i veicoli stradali.
  • Xiaomi SU7 Ultra: 1548 CV e performance da record.

domande sul futuro della roadster

Mentre cresce l’interesse verso il brevetto del fan car e i suoi potenziali benefici in termini di prestazioni, resta da vedere se Tesla riuscirà a realizzare questo progetto ambizioso. Con la crescente concorrenza nel settore delle auto elettriche ad alte prestazioni, la domanda rimane se queste innovazioni saranno sufficienti per differenziare la Roadster dai concorrenti già presenti sul mercato.

  • Potenziamento delle prestazioni attraverso tecnologie innovative?
  • Tesla riuscirà a mantenere la competitività?
  • Saranno implementate ulteriori migliorie oltre al fan car?